by Sylvie Denton and Peta Leggatt
The holiday season is one for family, friends, gifts and… invention? Yes, you read that correctly! We took a look into Derwent Innovation to see JUST how festive our database is. There are many holiday patents… and not all of them were about the jolly overweight bearded old man who lives in the North Pole and his trusted four-legged helper!
Here are our six favorite patent finds for this holiday season:
1. The first, US20150202543A1, is an electronic device that creates the illusion of Santa Claus on your roof, with his top reindeer peering down the chimney. The device, which features an audio speaker and red light that replicates Rudolph’s infamous nose, attaches to the interior of the chimney. The audio module plays the sounds of Santa’s voice, footsteps, sleigh bells… even scratching reindeer hooves. The device can be triggered by phone, tablet, etc., making it both easy and fun to bring Father Christmas to life!

2. Many Advent calendars on the market are include beverages, both alcoholic and not. This next patent, DE202014000170U1, is a special refrigerator that contains 24 individual cooling compartments for various bottles of wine or beer. Another option, as outlined in DE202013003919U1, is to simply use a “foldable Advent calendar attachment” – which consists of a piece of cardboard with 24 slots that can be placed over a crate of drinks, turning any case of beer into a makeshift Advent calendar!

3. This next patent is a must-have for parents trying to determine if their children should be on the Naughty or Nice list this year. WO2016029259A1 is a system that allows a parent to monitor behavior through a watch worn by the child. When a parent recognizes good behavior, they press a button on a dedicated app to award the child points and increase their behavior score. This is automatically updated on the child’s watch to let them know they are doing well. The phone app can also serve as a reward dispenser for toys, sweets, and other treats.


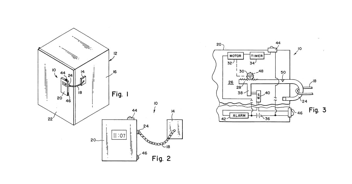
4. Another classic Christmastime problem is ensuring no one has a sneaky peek at their presents before the big day. GB2339234A suggests using a “portable time-locked container.” The container remains locked until a specific date and time, as chosen by mom or dad. On Christmas morning, the locking mechanism automatically disengages and the container can be opened by the kids to reveal the loot.

5. This U.S. patent, US5575242A, is one for animal lovers. Every cat owner knows their precious felines and bedazzled Christmas trees aren’t likely to get along. In this invention, a wire loop antenna is placed around the Christmas tree while the family cat is fitted with a small receiver. If the kitty comes too close to the tree, they will receive a warning signal from the device on their collar, avoiding a devastating ornament avalanche.

6. In this final patent, CN1633904A, a conventional wind chime doesn’t look very Christmassy on initial inspection.


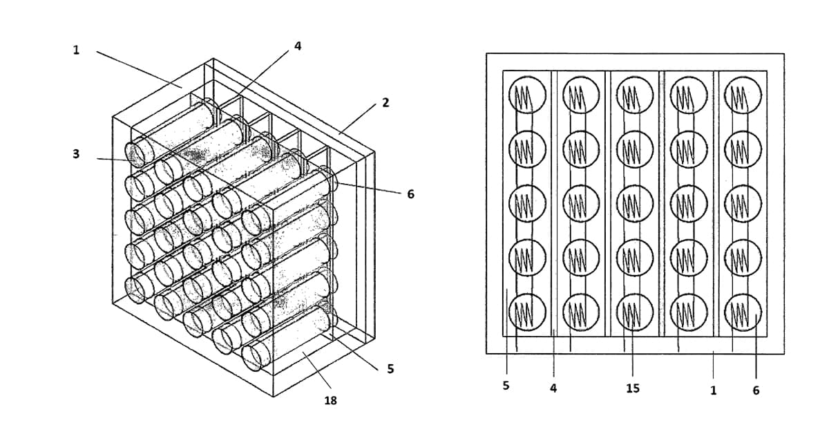
However, the abstract reveals all….“Disclosed is a wind-bell sausage characterized in that, an upper hanging disc is connected with a wind-bell downward through flexible wires, the wind-bell is a metal tube (3) inlaid with dried pork sausage (4), the sausage is enclosed by transparent paper. The beneficial effect of the sausage is that, it can be used for special situations, such as party, banquet, Christmas celebration and birthday celebration.First Claim: A kind of wind-bell, wherein the upper plate through the soft pipe connected with bell, bell is metal, the inner tube is embedded with a sausage.”
Did we miss any of your favorite holiday patents? Share them with us on Twitter and Facebook!